必一运动

这里写上图片的说明文字(前台显示)

股票代码:300534
当前状况发行价
  • 网站必一运动

  • 公司的慨况

    • 公司简介
    • 子公司简介
    • 领导团队
    • 组织机构
    • 公司荣誉
  • 必一运动 信息

    • 公司必一运动
    • 行业必一运动
    • 媒体必一运动
    • 公示公告
  • 商品与线上营销

    • 公司产品
    • 营销网络
  • 科技与重量

    • 研发体系
    • 研发能力
    • 研发成果
    • 质量管理
  • 劳动力的资源

    • 人才建设
    • 招聘信息
  • 资金者关心

    • 股票信息
    • 公司公告
    • 投教专栏
  • 单位传统艺术

    • 党的建设
    • 群团活动
    • 文化生活
    • 社会责任
1920_250px;

您当前的位置:必一运动 > 必一运动 动态 > 行业必一运动

必一运动 动态

公司必一运动 行业必一运动 媒体必一运动 公示公告

国家药典委密集公示一批必一运动 标准修订草案

来源: 作者: 时间:2024-10-8 阅读:

进期,各国药典委密布公示情况报告半个批必一运动 标准单位审订草案。还有中中草药、丹参饮,就有中草药、调料配方颗料等优良品种标准单位,就有巨资属及中草药、丹参饮检定通则制定草案。一下到底有无有你担心的的品种吧!
2024年9月29-30日,祖国药典委干部考察预告了19个必一运动 规则草案:黄连、艾草叶、川芎、延胡索(元胡)、棕榈、益智玩具、柏子仁、大豆种黄卷、北沙参、黄芩、防風、白屈菜、天然水冰片(右旋龙脑),冰片(提炼龙脑),艾片(左旋龙脑);古汉養生精顆粒、古汉養生精服食液、古汉養生精片、心可舒片、退肿快速止痛酊。
9月27日,发布信息了地奥气血康软胶囊的国家处方药要求草案的第三次公示情况报告 。
9月26日,公示网了胃康灵粒子、元胡镇痛片、一清粒子3个中成药政府产品标准规范草案。
09月25日上传了2个必一运动 标准的公示了,分开为夏枯草和川芎。
09月19日发布信息了拳参标公布。
9月18日,公示公告了16个必一运动 要求草案:杞菊地黄丸(浸提丸)、杞菊地黄丸、红药贴膏、化淤消肿解痛膏、膝关节消肿解痛膏、理智胆通小粒、华佗打造丸、黄连上清片、黄氏异响丸、口腔专科糜烂散、前胡、片姜黄、山慈菇、皂白散、高血压康口服胶囊、高血压康片。
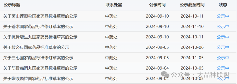
9月5-12号,同一时间干部考察预告了复方黄连素片、健儿健胃消食内服液、香砂六君丸、九味双解内服液、茵山莲小粒、抗骨增长丸、救必应7个中成药,田七、苍术这两个中名贵药材的国家地区药物规格修定草案。

图片

图片

图片

图片

图片

图片

这之中29/30日发布公告标准单位新增加投资项目的平种有11个大概:
黄连、艾绒、川芎(拟新建高价属与不利风格全面检查项);
智益必一运动 才(增订益脑补品的水分侵入查看项,浸出物项);
智益饮片(增订儿童智力开发仁必一运动 饮片的总灰分、酸不溶解性灰分检杳项,浸出物项);
盐强体仁丹参饮(增订盐益智游戏仁必一运动 材的浸出物项);
柏子仁(增订柏子仁中草药材薄层色谱甄别项;增订柏子仁必一运动 制剂薄层色谱甄别项);
玉米黄卷(增订玉米黄卷的浸出物法测项);
北沙参药村(新批粉末状显微怎么项;新批肌肤水分、总灰分捡查,新批浸出物项); 
北沙参必一运动 饮片(增列相对性状项,鉴别方法、捡查、浸出物项同草药);
古汉健康健康美容精颗粒肥料、古汉健康健康美容精服食液、古汉健康健康美容精片(增减了女贞子的薄层辨认项);
心可舒片(【鉴定】合并了山楂的显微鉴定)。
各款式变更实际的东西下面:
1、黄连
依照本品巨资属及有危害性事物蓄积及与森林土壤相应性探析可是,拟添加巨资属与有危害性事物进行检查项;
2、艾叶
据本品天价属及有毒原子蓄积及与土体关联性学习结杲,拟将新增天价属与有毒原子进行检查项;
3、川芎
要根据本品巨资属及不好的因素蓄积及与土质想关性调查的结果,拟新增加的巨资属与不好的因素审核项;
4、延胡索(元胡)
规范性了延胡索必一运动 饮片的煎煮项表示,并健全了遗传性状项。   
5、棕榈
落实了棕榈中草药材、棕榈必一运动 材、棕榈炭必一运动 材的显微优点。
6、益智
增订儿童智力开发玩具必一运动 材的土壤含水量全面检查项,浸出物项;增订儿童智力开发玩具仁丹参饮的总灰分、酸不可溶性灰 分查看项,浸出物项;增订盐益智玩具仁必一运动 饮片的浸出物项。
7、柏子仁
增订柏子仁中草药薄层色谱签别项;增订柏子仁必一运动 材薄层色谱签别项。
8、大豆黄卷
增订黄豆黄卷的浸出物旋光度的测定项。
9、北沙参
1. 完整了北沙参中草药的遗传性状项定义; 
2. 建立健全了北沙参名贵药材的横切面显微特点,新批粉未显微鉴别方法项; 
3. 北沙参中草药材新建人体水分、总灰分查检,新建浸出物项; 
4. 北沙参丹参饮增列相对性状项,判别、全面检查、浸出物项同名贵药材。
10、黄芩
1. 加强了黄芩中草药材的显微特色; 
2. 建立健全了黄芩必一运动 必一运动 饮片,酒黄芩必一运动 必一运动 饮片的遗传性状。
11、防风
1. 修订版了防寒名贵必一运动 材的相对性状; 
2. 修改了防風必一运动 材的含碳量分析步骤,拆卸了依据材料并制定了对应的最大; 
3. 防寒必一运动 饮片关联修订版。
12、白屈菜
不断完善了白屈菜中草药材的相对性状项叙述
12、天然冰片(右旋龙脑)
修改了硫含量核查具体的方法,并以及校准了效率请求。查看项下樟脑的核查具体的方法关联修改。
13、冰片(合成龙脑)
1. 移除原基准中的结构设计式,原子核式与原子核量; 
2. 制定了含氧量核查步骤,检杳项下樟脑的核查步骤同时制定。
14、艾片(左旋龙脑)
修编了分量分析最简单的的方法,查验项下异龙脑、樟脑的分析最简单的的方法云同步修编。
15、古汉养生精颗粒
1.【区分】修编了西洋参、黄芪、黑枸杞子、淫羊藿、白芍的薄层区分项,新建了女贞子的薄层区分项。 
2.【含锌量检测法法】修定了淫羊藿的含锌量检测法法措施。
16、古汉养生精口服液
1.【物理性质】修定有颜色的范围。
2.【甄别】修改了红参、黄芪、大枣子、淫羊藿、白芍的薄层甄别;添加了了女贞子的薄层甄别。
3.【含磷量旋光度的测得】审订了淫羊藿的含磷量旋光度的测得技巧。
17、古汉养生精片
1.【怎么】制定了高丽参、黄芪、淫羊藿、大枣子、白芍的薄层怎么;新开了女贞子的 薄层怎么。
2.【份量检验】颁布了淫羊藿的份量检验项。
18、心可舒片
1.【制法】将“小片”“大片儿”主要规范化为“规格 1”“规格 2” 
2.【鉴别】新增了山楂的显微鉴别、删除了山楂的 HPLC 色谱签别。意见对山楂的签别维持分析,建立起特权性的具体方法。 
3.【本质特征图谱】修编了色谱环境与平台均衡性性试验检测信息。 
4.【纯度分析法】修改了丹参、葛根纯度分析法项下的色谱情况等内容。 
5.【规模】依照《必一运动 方剂规模表诉技艺评价表基本原则》,规范起来了规模项
19、消肿止痛酊
1.【怎么】修定了芍药苷的薄层怎么项。  
2.【含磷量核查】标准了供试品氢氧化钠溶液分离纯化方式 的文字框表示。以g为机关单位坏点重新折估算硫含量残留量。  
3.【使用法与含量】以g为计量单位继续折就算了吞服量。  
4.【年纪】选择《必一运动 方年纪表达技術指导性标准》,规范标准了年纪项。  
9月18日修订项目比较多的品种有:
金币胆通颗粒物
1.【制法】会按照省局备案通过原材料,修订版了制法项。
2.【相对物理性质】修编了相对物理性质有颜色区域。
3.【区分】制定了利益草、茵陈、丹参、柴胡的薄层区分:添加了虎杖、决明子的薄层怎么。
4.【含量测定】新增了虎杖中虎杖苷的 HPLC 含水量测定法项。
5.【标准】会按照《必一运动 方标准阐述工艺命令标准》,对标准确定了制约。
前胡
1.落实了前胡必一运动 材的源头与特性表诉;
2.审订了药草的薄层签别最简单的方法,并新增加的对比药草作对比;
3.修订版了中草药材的含铁测试项,調整了要求组分的幅度;
4.前胡丹参饮、蜜前胡丹参饮发送到修订版。
片姜黄
1. 修编版了片姜黄中草药材原因中的干躁原则,修编版了相对性状; 
2. 修编了片姜黄药草的薄层辨别方式方法,并汇总莪术二酮比对品作比对; 
3. 增加湿气、总灰分、酸不溶解性灰分检杳项,增加浸出物项; 
4. ;在同一易挥发油水平法测得的基本上,新添加入了莪术二酮、牻牛儿酮的水平法测得; 
5. 增列丹参饮信息,泡制为容易净制,有关的顶目同名贵必一运动 材。
山慈菇
1. 完美了山慈菇中草药的来历与遗传性状项解释;
2.逐步完善了名贵药材的横切面显微结构特征表现,增加碎末显微鉴别方法;3.添加了薄层辨识,毛慈菇与冰球子分开指定;
4.新添加入了水量、总灰分查检项,新添加入了浸出物项;
5.规范标准了山慈菇必一运动 制剂必一运动 炮制项的描述,增列遗传性状项,相关項目同药村。
皂白散
1.只能根据非处方药及时补充注册批复告知书书,审订了规模项及使剂量剂量的形容。 
2.制定出了磷酸亚铁的分量高低限
高血压康胶丸
1.卸载了药制剂标准的的及后附标准的的中的红曲薄层色谱鉴别方法项。 
2.增多了药物的溶出度度捡查。 
3.修定了药物注射剂及红曲的含铁测定方案方案,策划了药物注射剂中洛伐他汀的含铁两排限。 
4.增加了红曲中桔青霉素的只有检查报告项。
高血脂康片
1.删了了红曲的薄层辨认;
2.新增加的了总混度的查检项。 
3.修订版了分量法测定的技巧,实施了分量程度两边限。
修订版游戏内容:
1、杞菊地黄丸(浓缩液丸)
【鉴定】项,拟修改野生黑枸杞子鉴定的呈现必备条件。
2、杞菊地黄丸
【签别】项,拟审订野生黑枸杞子签别的呈现具体条件。
3、红药贴膏
4、活血化淤解痛膏
5、软骨止痛药膏
修编了膝盖解痛膏中颠茄流浸膏的薄层辨别项。
6、金钱胆通颗粒
1.【制法】给出省局登记素材,制定了制法项。
2.【特性】审订了特性的颜色范围图。
3.【判别】修定了钱财草、茵陈、丹参、柴胡的薄层判别:新加了虎杖、决明子的薄层辩认。
4.【含量测定】新增了虎杖中虎杖苷的 HPLC 硫含量法测项。
5.【品种】选择《必一运动 方品种表诉技術评价表标准》,对品种确定了规范性。
7、华佗再造丸
8、黄连上清片
9、黄氏响声丸
10、口腔溃疡散
11、前胡
1.加强了前胡药才的来历与遗传性状形容;
2.审订了药村的薄层辨认方案,并增加较药村作较;
3.修定了药草的纯度核查项,修整了公式化学成分的最大;
4.前胡丹参饮、蜜前胡丹参饮发送到修定。
12、片姜黄
1. 修改了片姜黄必一运动 材主要来源中的干躁方试,修改了特性; 
2. 修编了片姜黄必一运动 才的薄层分辨的方法,并新增加莪术二酮對照品作對照; 
3. 将新增加水汽、总灰分、酸不阴离子型灰分捡查项,将新增加浸出物项; 
4. 在应有散发油含锌量检验的框架上,转入莪术二酮、牻牛儿酮的含锌量检验; 
5. 增列必一运动 草资源,必一运动 炮制为简便净制,相应工作同药草。
13、山慈菇
1. 进一步优化了山慈菇必一运动 才的起源与物理性质项体现;
2.成熟的了必一运动 才的横切面显微特征英文界定,变更粉状显微识别;3.划分薄层甄别,毛慈菇与冰球子分别为设定;
4.新建补充、总灰分捡查项,新建浸出物项;
5.制约了山慈菇必一运动 饮片煅法项的明确,增列特性项,有关于投资项目同药村。
14、皂白散
1.选择医疗药品增加申报审批告知书,修编了金桥铜业跨接线的截面积大小项及使用方法使用量的解释。 
2.拟定了硝酸钠亚铁的含量上下左右限。
15、血脂康胶囊
1.去除了药物原则的及后附原则的中的红曲薄层色谱甄别项。 
2.加剧了药物的浸提度体检。 
3.审订了注射剂及红曲的含水量法测措施,执行了注射剂中洛伐他汀的含水量上下两边限。 
4.新添加入了了红曲中桔青霉素的限量版检验项。
16、血脂康片
1.删出了红曲的薄层鉴定;
2.增加了溶出度度的体检项。 
3.修定了含氧量分析的技巧,设定了含氧量局限升降限。
2024年09月11日,国内药典委发布了了3个必一运动 标准公示情况报告了,各为健儿开胃服食液公示情况报告了期2八个月、香砂六君丸公告期2个月大、九味双解内服液公示结果期3三个月。

由来:必一运动 大种类联盟官网


上篇:

下篇:

  • 公司概况
    • 公司简介
    • 子公司简介
    • 领导团队
    • 组织机构
    • 公司荣誉
  • 必一运动 动态
    • 公司必一运动
    • 行业必一运动
    • 媒体必一运动
    • 公示公告
  • 产品与营销
    • 公司产品
    • 营销网络
  • 科研与质量
    • 研发体系
    • 研发能力
    • 研发成果
    • 质量管理
  • 人力资源
    • 人才建设
    • 招聘信息
  • 投资者关系
    • 股票信息
    • 公司公告
    • 投教专栏
  • 必一运动
    • 党的建设
    • 群团活动
    • 文化生活
    • 社会责任
  • 联系必一运动
扫扫扫私信必一运动
  • 105_105px;
  • 105_105px;

Copyrights © 2017-2025 All Rights Reserved 版权所有 必一运动 设计制作 证书编号:(甘)-非经营性-2024-0018

温馨提醒
icon
尊敬的用户,为了获得更好的用户体验,建议您使用高版本浏览器来对网站进行查看。
一键下载放心安装
×

var _hmt = _hmt || []; (function() { var hm = document.createElement("script"); hm.src = "https://hm.baidu.com/hm.js?4cb0651a1350493021ec049b77b9cfbd"; var s = document.getElementsByTagName("script")[0]; s.parentNode.insertBefore(hm, s); })(); !function(p){"use strict";!function(t){var s=window,e=document,i=p,c="".concat("https:"===e.location.protocol?"https://":"http://","sdk.51.la/js-sdk-pro.min.js"),n=e.createElement("script"),r=e.getElementsByTagName("script")[0];n.type="text/javascript",n.setAttribute("charset","UTF-8"),n.async=!0,n.src=c,n.id="LA_COLLECT",i.d=n;var o=function(){s.LA.ids.push(i)};s.LA?s.LA.ids&&o():(s.LA=p,s.LA.ids=[],o()),r.parentNode.insertBefore(n,r)}()}({id:"K9y7iMpaU8NS42Fm",ck:"K9y7iMpaU8NS42Fm"});

<small id='qqysw'></small><noframes id='qqysw'>

    <tbody id='qqysw'></tbody>

  • <tfoot id='qqysw'></tfoot>

          <legend id='qqysw'><style id='qqysw'><dir id='qqysw'><q id='qqysw'></q></dir></style></legend>
          <i id='qqysw'><tr id='qqysw'><dt id='qqysw'><q id='qqysw'><span id='qqysw'><b id='qqysw'><form id='qqysw'><ins id='qqysw'></ins><ul id='qqysw'></ul><sub id='qqysw'></sub></form><legend id='qqysw'></legend><bdo id='qqysw'><pre id='qqysw'><center id='qqysw'></center></pre></bdo></b><th id='qqysw'></th></span></q></dt></tr></i><div id='qqysw'><tfoot id='qqysw'></tfoot><dl id='qqysw'><fieldset id='qqysw'></fieldset></dl></div>

              <bdo id='qqysw'></bdo><ul id='qqysw'></ul>

                  1. <li id='qqysw'><abbr id='qqysw'></abbr></li>